Підключення лічильника струму через трансформатор за схемами
Споживання енергії контролюється за допомогою електричного лічильника. Підключення трансформаторів струму в мережі застосовують, щоб виміряти змінний струм великої потужності, знизивши його силу до 5 А. Лічильник підключається до системи електропостачання, при цьому використовуються трифазні та однофазні пристрої, які приєднуються різними способами.
вимірювальні трансформатори
Перетворювачі струму (вимірювальні трансформатори) трансформують ток з високою початковою навантаженням до безпечних показників для виміру у вторинній котушці. Вони працюють при частоті 50 Гц і номінальною силі струму 5 А. Трансформатор з коефіцієнтом видозміни 100/5 витримує максимальний струм 100 А, а вимірювальний – 5 А. Показання лічильника з таким трансформатором множать на 20.
Струм з початковими значеннями протікає по послідовно приєднаною первинної обмотці трансформатора. Направлений рух електронів у вторинному контурі з підключеною котушкою створюється завдяки електромагнітної індукції, в результаті чого значення струму стають нижче початкових в кілька разів, що фіксується електролічильників.

трифазне пристрій
Трифазний лічильник для навантаженої мережі з струмом понад 100 А зробити важко, т. К. Потрібно виконати велику перетин первинної обмотки. Розроблено одновиткового і багатовиткові трансформатори, які встановлюють перед котушками. Така структура ланцюга позбавляє від виробництва потужних вимірювальних пристроїв, захищає прилад від коротких замикань і перевантажень.
Випускається два типи трифазних лічильників:
Прилади непрямого підключення трифазного лічильника через трансформатори струму – цей тип вбудовується в ланцюг за допомогою перетворювача потоку. Їх частіше встановлюють на виробничих потужностях з метою контролю енергії високовольтних ліній.- Прямого під'єднання – електроприлад безпосередньо перевіряє споживання електрики. Він працює при допустимій потужності до 60 кВт, при цьому максимальне значення струму – до 100 А. Пристрій використовується для підключення проводів з поперечним перерізом 1 мм ².
Магнітний привід виготовляється рознімного або суцільного типу зі стрижневою або розгалуженої обмоткою. Багатофазні прилади містять в конструкції ланкову або петлеву обвивка. Вибір вимірювального пристосування залежить від номінального струму і напруги на початку та при проходженні через вторинну обмотку. Прилад складається з сердечника, групи первинних витоків і вторинної котушки з великим числом оборотів дроту.
Робота в мережах 380 В
У трифазних мережах з потужністю більше 60 кВт і струмом понад 100 А при обліку споживаної енергії використовується непряма схема під'єднання.

Після зчитування показань застосовується коефіцієнт для перерахунку.
У такого способу підключення є і недоліки. Якщо користувач споживає невеликий обсяг енергії, то вимірювальний струм може бути нижче значення, необхідного для запуску лічильника. Прилад коштує в неробочому стані – такий ефект виникає при установці індукційних лічильників старого зразка, які відрізняються великим споживанням енергії на власні потреби. У моделях останніх років цей недолік майже завжди відсутній.
Особливості включення в ланцюг 380 В:
- При приєднанні трансформаторів дотримується полярність на вході і виході, використовується кабель, обраний за допомогою розрахунку навантажень.
Використовується провід з перетином більше 2,5 мм² для вторинних контурів.- З'єднання з клемами виконуються провідниками з маркуванням відповідного кольору.
- Застосовується під'єднання подальшого контуру за допомогою проміжного клемника з установкою пломби.
- Чи не дозволяється установка трифазних трансформаторів з різними коефіцієнтами перетворення на один обліковий прилад.
Проводиться заміна лічильника без зупинки електроживлення користувачів і зняття напруги. Технічний огляд відбувається в безпечному режимі, перевірка похибок облікових пристроїв також проводиться на діючій лінії без відключення.
Перед вибором схеми підключення трансформатора струму до лічильника перевіряють придатність приладу для такого варіанту використання. Якщо пристрій живиться прямий спосіб установки, то його заборонено застосовувати спільно з трансформатором. Умови роботи лічильника описуються в технічному паспорті, де наводиться рекомендована схема підключення.
Монтаж однофазного приладу
Провідник силового ланцюга працює в якості первинної обвивання в однофазних трансформаторах, номінальне значення сили струму досягає 100 і більше ампер. Через вторинну обмотку проходить струм не вище 5 А. Встановлюється однофазное пристрій в проміжок розриву живильної магістралі.

Споживачі не повинні приєднуватися до лінії перед змонтованим лічильником.
В підводить ланцюга монтується автомат – він необхідний при заміні приладу, коли потрібно знеструмлення магістралі. Такий же автоматичний вимикач встановлюється після вимірювальної групи пристроїв з метою відключення споживача в разі неполадок на його стороні. На задній стінці приладу нанесена схема монтажу електролічильника.
Для контакту в приладі передбачено 4 затиску. Фаза і нуль з'єднуються за схемою:
- зажим 1 кріпиться до фазного висновку;
- клема 2 під'єднується до відводить фазному контакту;
- зажим 3 приєднується до живлячої нульового кабелю;
- клема 4 підключається до відводить нулю.
Така схема застосовується при підключенні вимірювального пристрою в приватному будові, квартирі багатоповерхового будинку або невеликому павільйоні для торгівлі.
Установка багатовитковому вимірювача
Трифазні електролічильники ставлять в багатопровідних мережах з використанням перетворювача струму. Такі вимірювальні прилади називають трансформаторними лічильниками, т. К. Вони працюють спільно. Перетворювачі застосовують при непрямому включенні в мережу з великою потужністю, первинна обмотка замінена електричним дротом. Прилад контролює заряд електрики при русі електронів по вторинній обмотці, яке виникає на основі електромагнітної індукції.
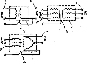
Десятіпроводная схема
Використовується десятіпроводная система включення з ізоляцією потужних силових ланцюгів, яка забезпечується трансформаторами. Гальванічна розв'язка застосовується в промислових або побутових умовах і гарантує безпеку експлуатації обладнання. Недоліком такої схеми є велика кількість кабелів.
Схема підключення відбувається в послідовності:
клема 1 – на вхід фази (А);- затиск 2 – на вхід вимірювального контуру фазного приладу (А);
- контакт 3 – на вихід вимірювального приводу (А);
- затискачі 4 – вхідна клема фази (В)
- клема 5 – вхід вимірювального контуру фази (В);
- контакт 6 – вихід фази (В);
- зажим 7 – вхід фази (С);
- контакт 8 – вхід контуру вимірювання фази.
Трансформатори під'єднуються за допомогою контактів Л1 і Л2 до розриву лінії. Якщо одновиткового прилади працюють тільки з напругою 220 В, то многостержневие вимірюють витрата електроенергії в ланцюгах з потужністю 380 В.

Переваги трифазного лічильника в порівнянні з однофазним пристроєм:
- дозволяє економити електрику вночі (близько 50%);
- похибка при вимірюванні становить 2-2,5%;
- передбачено автоматичне збереження і аналіз показників в журналі подій;
- можна експортувати свідчення у мережі на відстань, для цього є вбудований електросилової модем.
З недоліків зазначається вимога досвіду установки електроустаткування і великі габарити пристрою.
Труднощі виникає в тому, що при підключенні однофазного приладу обліку існує одна принципова система. А перед підключенням трансформатора струму до трифазного лічильника потрібно вибрати одне виконання серед подібних схем.
Інші системи під'єднання
Спрощеною схемою вважається підключення по типу конфігурації зірки. При цьому полегшується установка вимірювача, т. К. Використовується менше зовнішніх проводів, що відбувається через складну конструкції внутрішньої системи під'єднання. У будові трансформатора є магнітопровід, що містить в складі 3 стрижня. На кожному з них передбачені первинна і вторинна обмотки. Первинна знаходиться під високою напругою, а з вторинного контуру електрику з низькою напругою надходить до користувачів.
Кінці кожної намотування об'єднуються разом, а споживчі фази виходять з почав витків. З з'єднання кінців виводиться нейтраль (нуль), що застосовується в якості вирівнювача навантаження, щоб виключити скачки потужності в мережі. Утворюється трифазна 4-провідна схема, часто використовувана для повітряних електромагістралей.
Виходить два типи напруги: лінійне і фазну. Напруга першого виду перевершує фазное в √3 раз, тому, помноживши 220 В на √3, отримуємо лінійну потужність мережі 380 В. Фазний струм дорівнює лінійному, вони однаково проходять обмотки.
При з'єднанні обмоток за способом трикутника фази об'єднуються за схемою:
- кінець А – з початком В;
- кінець У – з початком С;
- кінець С – з початком А.
Обмотки об'єднані послідовно. Такий спосіб використовується для ліній з симетричним навантаженням, де не передбачено зміну в залежності від фази. Фазна і лінійна напруга однакові за значенням, а лінійний струм перевершує фазний в √3 раз.

Для вибору схеми з'єднання враховується, що при підключенні по типу зірки створюється два види напруги, а схема трикутника дозволяє використовувати тільки 380 В.
Виходи вторинних контурів приєднуються, і влаштовується заземлення, але в супроводжуючих документах на лічильник (паспортах) така вимога не завжди озвучується. Якщо комісія з приймання обладнання в експлуатацію буде наполягати на знятті заземляющего кабелю, то шлейф доведеться видалити. Монтаж електрообладнання проводять тільки відповідно до розробленого проекту виробництва робіт.
Суміщені схеми в магістралях використовують рідко через великі похибок у вимірах і труднощів при виявленні пробоїв на обмотках трифазного трансформатора. У ланцюгах з ізольованим нейтральним проводом використовується схема з підключенням двох вимірювальних трансформаторів (за типом неповної зірки). Таке включення чутливо реагує на обрив фазного кабелю.
Вторинні контури завжди навантажуються, їх робота проходить в режимі, близькому за характеристиками до короткого замикання. Розрив вторинному ланцюзі викликає втрату компенсуючого дії електромагнітної індукції від струму, що проходить по вторинним витків. Такі неполадки ведуть до нагрівання магнітопровода понад норму.
Трифазний трансформатор вибирається з урахуванням коефіцієнта перетворення за нормами ПУЕ1.5.17. Визначено, що струм у вторинному контурі при підключенні максимального навантаження не повинен падати нижче 40% від показників номінального струму вимірювального приладу. Правильний розподіл контактів і чергування фазних затискачів А, В і С контролюється фазометром.